产品中心

Product Center

首页 > 产品中心 > 昱暐SU支持类>14009系列移动式垫块

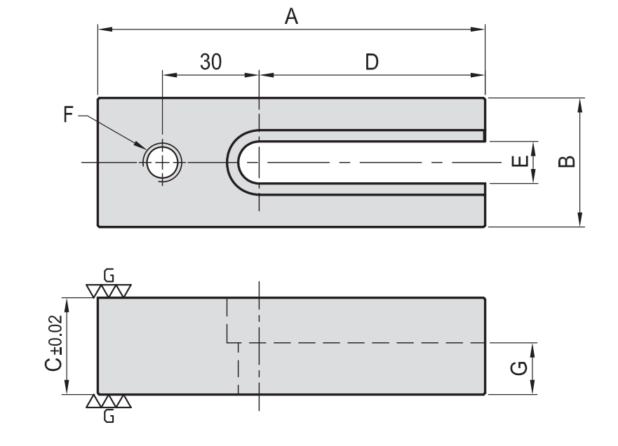
14009系列移动式垫块

型号:SU09 

材质:S45C 

热处理:HRC 40° 

表面:染黑处理 

用途:因应工件固定位置,可作适当  之移动。

产品详情