Product Center
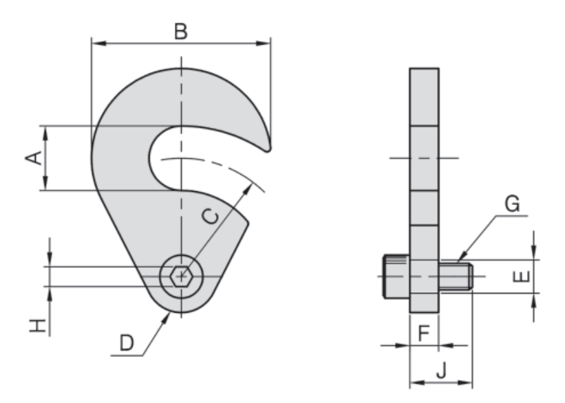
型号:PT24
材质:4140
热处理:HRC 40°
用途:垫于工件之夹紧面
特长:拆装方便
50001系列齿面卡爪
40042系列双向式油压虎钳
42002
42001