产品中心

Product Center

首页 > 产品中心 > 米堤百>30016系列内孔膨胀夹紧器

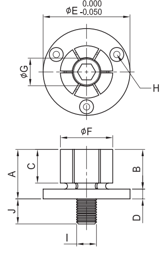
30016系列内孔膨胀夹紧器

主体材料:弹簧钢 低位压紧 适用于车床上的次级加工 

易于再加工以适合车床或铣床上的应用 

非常适合平板式夹具组合 使每上基座或治具上可放置更工件 

用六角头扳手或液压拉缸锁紧要(需钻一通孔,使更长的螺栓能与液压拉缸连接) 

每个压紧器附有安装说明

产品详情


1686116310893.jpg