产品中心

Product Center

首页 > 产品中心 > 米堤百>30012-2系列T沟用六面偏心夹持件

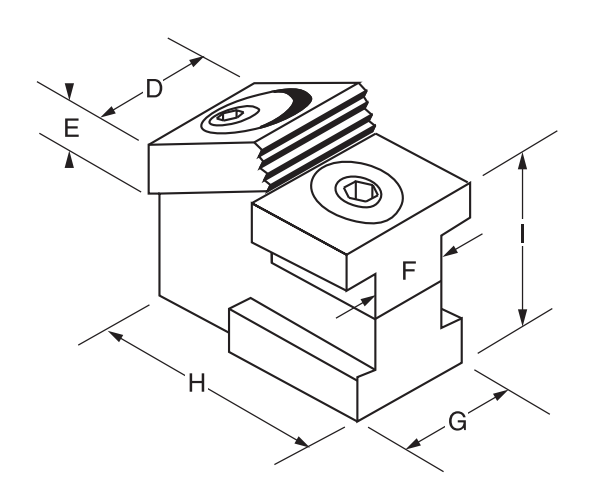
30012-2系列T沟用六面偏心夹持件

将原本的六面偏心夹持件用T型螺帽

结合成我们独特的凸轮作动夹持件。 

特T型螺帽锁在基板T沟内 

硬钢六面夹持件随特殊的零件做夹持 

整套成对包装完整 

整个内容:4PC T型螺帽  6PC 六面偏心夹持件  2PC 六角板手

产品详情