产品中心

Product Center

首页 > 产品中心 > 米堤百>30010系列侧向偏心夹持件

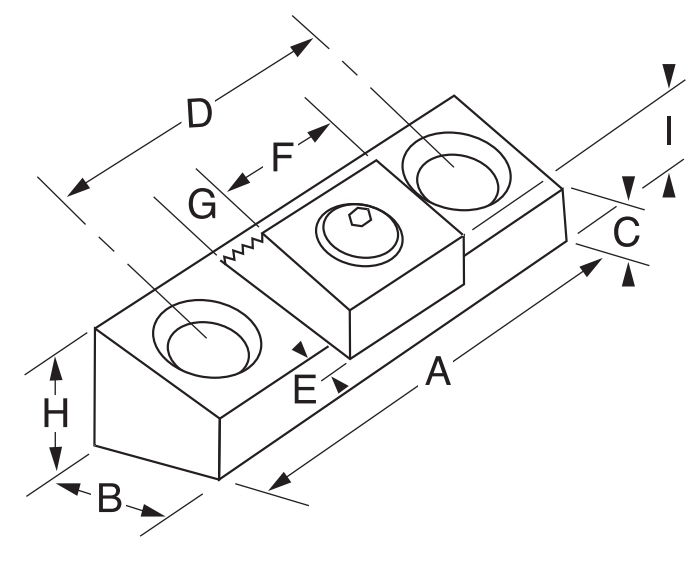
30010系列侧向偏心夹持件

当使用在仅有狭小空间的固定装置时,

此侧向偏心夹持件提 供正向下力。

工件可被串连夹持,以使用夹持件背面来设置 新的工件。

硬钢夹持件同时具有平面及齿面。

夹持件的高度 可藉由加工来调整。

产品详情