产品中心

Product Center

首页 > 产品中心 > 昱暐CP夹持类>13040系列软爪式异型工件夹持座

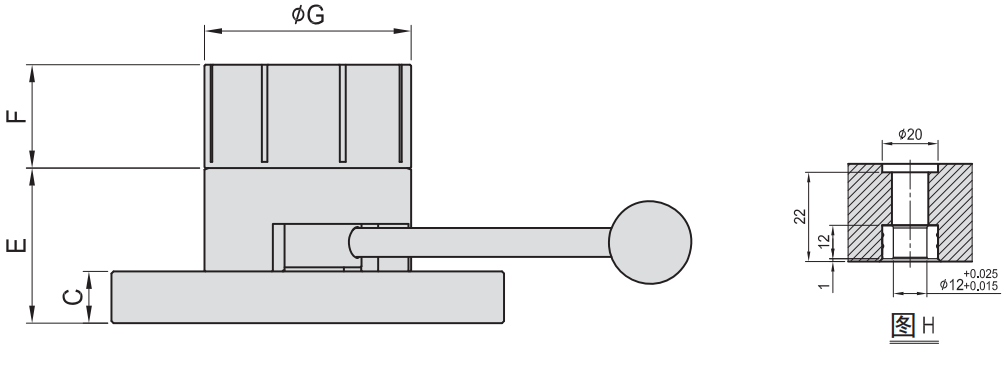
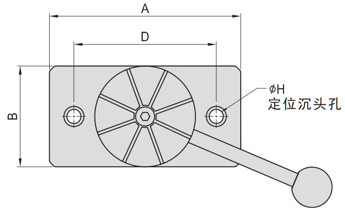
13040系列软爪式异型工件夹持座

型号:CP40 

材质:软爪A6061,底座S45C 

热处理:HRC25°-38° 

表面:软爪 阳极处理 

用途:适用于立式MC 

特长:用于夹持铝铜等异型工件

产品详情